適用范圍
> 廣泛應用于石油開采、煉油、化工、軍工等危險環境場所作為電線、電纜管路連接彎曲之用。
> 適用于爆炸性氣體環境 1 區、2 區場所。
> 適用于可燃性粉塵環境 20 區、21 區、22 區場所。
> 適用于ⅡA、ⅡB、ⅡC 類爆炸性氣體環境。
型號含義
主要技術參數
|
防爆標志
|
Ex e ⅡC Gb/Ex tD A21 IP65
|
|
防護等級
|
IP65
|
|
結構形式
|
A、B、C、D、E、F、G、H
|
|
執行標準
|
GB12476.1、GB12476.5、GB3836.1、GB3836.3
|
產品特點
* 鑄鋁合金或鑄鋼外殼,表面高壓靜電噴塑。
* 外殼材質有鋁合金和鑄鋼兩種形式。
* 結構形式多樣,便于安裝。
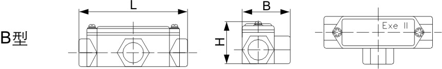
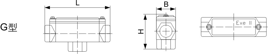
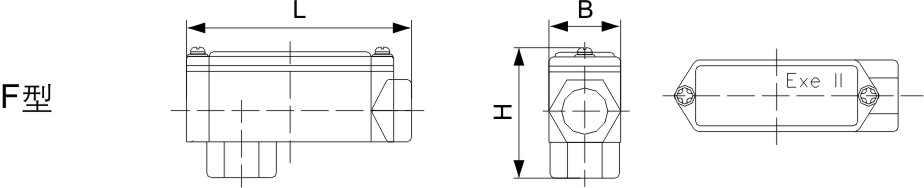
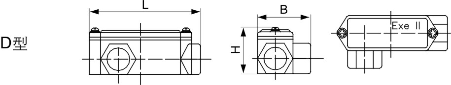
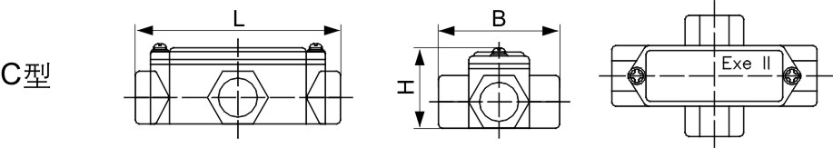
外形安裝尺寸
|
|
進線口螺紋
|
管子內徑
|
鑄鋁型號
|
外形尺寸
|
|
L
|
B
|
H
|
|
G1/2
|
15
|
BCH-A1/2□
|
105
|
31
|
41
|
|
G3/4
|
20
|
BCH-A3/4□
|
125
|
37
|
46
|
|
G1
|
25
|
BCH-A1□
|
139
|
46
|
54
|
|
G1 1/4
|
32
|
BCH-A1 1/4□
|
182
|
54
|
65
|
|
G1 1/2
|
40
|
BCH-A1 1/2□
|
176
|
60
|
71
|
|
G2
|
50
|
BCH-A2□
|
204
|
72
|
83
|
|
G2 1/2
|
70
|
BCH-A2 1/2□
|
246
|
86
|
104
|
|
G3
|
80
|
BCH-A3□
|
282
|
102
|
120
|
|
G4
|
100
|
BCH-A4□
|
300
|
120
|
135
|
|
|
進線口螺紋
|
管子內徑
|
鑄鋁型號
|
外形尺寸
|
|
L
|
B
|
H
|
|
G1/2
|
15
|
BCH-B1/2□
|
105
|
47
|
41
|
|
G3/4
|
20
|
BCH-B3/4□
|
125
|
52
|
46
|
|
G1
|
25
|
BCH-B1□
|
139
|
62
|
54
|
|
G1 1/4
|
32
|
BCH-B1 1/4□
|
182
|
71
|
65
|
|
G1 1/2
|
40
|
BCH-B1 1/2□
|
176
|
80
|
71
|
|
G2
|
50
|
BCH-B2□
|
204
|
94
|
83
|
|
G2 1/2
|
70
|
BCH-B2 1/2□
|
246
|
121
|
104
|
|
G3
|
80
|
BCH-B3□
|
282
|
137
|
120
|
|
G4
|
100
|
BCH-B4□
|
300
|
145
|
135
|
|
|
|
進線口螺紋
|
管子內徑
|
鑄鋁型號
|
外形尺寸
|
|
L
|
B
|
H
|
|
G1/2
|
15
|
BCH-C1/2□
|
105
|
62
|
41
|
|
G3/4
|
20
|
BCH-C3/4□
|
125
|
66
|
46
|
|
G1
|
25
|
BCH-C1□
|
139
|
79
|
54
|
|
G1 1/4
|
32
|
BCH-C1 1/4□
|
182
|
88
|
65
|
|
G1 1/2
|
40
|
BCH-C1 1/2□
|
176
|
100
|
71
|
|
G2
|
50
|
BCH-C2□
|
204
|
115
|
83
|
|
G2 1/2
|
70
|
BCH-C2 1/2□
|
246
|
156
|
104
|
|
G3
|
80
|
BCH-C3□
|
282
|
172
|
120
|
|
G4
|
100
|
BCH-C4□
|
300
|
180
|
135
|
|
|
進線口螺紋
|
管子內徑
|
鑄鋁型號
|
外形尺寸
|
|
L
|
B
|
H
|
|
G1/2
|
15
|
BCH-D1/2□
|
98
|
47
|
41
|
|
G3/4
|
20
|
BCH-D3/4□
|
117
|
52
|
46
|
|
G1
|
25
|
BCH-D1□
|
129
|
62
|
54
|
|
G1 1/4
|
32
|
BCH-D1 1/4□
|
129
|
63
|
65
|
|
G1 1/2
|
40
|
BCH-D1 1/2□
|
166
|
80
|
71
|
|
G2
|
50
|
BCH-D2□
|
194
|
91
|
83
|
|
G2 1/2
|
70
|
BCH-D2 1/2□
|
211
|
121
|
104
|
|
G3
|
80
|
BCH-D3□
|
247
|
137
|
120
|
|
G4
|
100
|
BCH-D4□
|
275
|
145
|
135
|
|
|
|
進線口螺紋
|
管子內徑
|
鑄鋁型號
|
外形尺寸
|
|
L
|
B
|
H
|
|
G1/2
|
15
|
BCH-E1/2□
|
98
|
47
|
41
|
|
G3/4
|
20
|
BCH-E3/4□
|
117
|
52
|
46
|
|
G1
|
25
|
BCH-E1□
|
129
|
62
|
54
|
|
G1 1/4
|
32
|
BCH-E1 1/4□
|
129
|
63
|
65
|
|
G1 1/2
|
40
|
BCH-E1 1/2□
|
166
|
80
|
71
|
|
G2
|
50
|
BCH-E2□
|
194
|
90
|
83
|
|
G2 1/2
|
70
|
BCH-E2 1/2□
|
211
|
121
|
104
|
|
G3
|
80
|
BCH-E3□
|
247
|
137
|
120
|
|
G4
|
100
|
BCH-E4□
|
275
|
145
|
135
|
|
|
進線口螺紋
|
管子內徑
|
鑄鋁型號
|
外形尺寸
|
|
L
|
B
|
H
|
|
G1/2
|
15
|
BCH-F1/2□
|
98
|
31
|
57
|
|
G3/4
|
20
|
BCH-F3/4□
|
117
|
37
|
64
|
|
G1
|
25
|
BCH-F1□
|
130
|
46
|
71
|
|
G1 1/4
|
32
|
BCH-F1 1/4□
|
163
|
54
|
81
|
|
G1 1/2
|
40
|
BCH-F1 1/2□
|
166
|
60
|
91
|
|
G2
|
50
|
BCH-F2□
|
194
|
72
|
105
|
|
G2 1/2
|
70
|
BCH-F2 1/2□
|
211
|
86
|
139
|
|
G3
|
80
|
BCH-F3□
|
247
|
102
|
155
|
|
G4
|
100
|
BCH-F4□
|
275
|
120
|
160
|
|
|
|
進線口螺紋
|
管子內徑
|
鑄鋁型號
|
外形尺寸
|
|
L
|
B
|
H
|
|
G1/2
|
15
|
BCH-G1/2□
|
105
|
31
|
57
|
|
G3/4
|
20
|
BCH-G3/4□
|
125
|
37
|
64
|
|
G1
|
25
|
BCH-G1□
|
139
|
46
|
71
|
|
G1 1/4
|
32
|
BCH-G1 1/4□
|
170
|
54
|
81
|
|
G1 1/2
|
40
|
BCH-G1 1/2□
|
176
|
60
|
91
|
|
G2
|
50
|
BCH-G2□
|
204
|
72
|
105
|
|
G2 1/2
|
70
|
BCH-G2 1/2□
|
246
|
86
|
139
|
|
G3
|
80
|
BCH-G3□
|
282
|
102
|
155
|
|
G4
|
100
|
BCH-G4□
|
300
|
120
|
160
|
|
|
進線口螺紋
|
管子內徑
|
鑄鋁型號
|
外形尺寸
|
|
L
|
B
|
H
|
|
G1/2
|
15
|
BCH-H1/2□
|
69
|
27
|
43
|
|
G3/4
|
20
|
BCH-H3/4□
|
81
|
33
|
48
|
|
G1
|
25
|
BCH-H1□
|
100
|
40
|
60
|
|
G1 1/4
|
32
|
BCH-H1 1/4□
|
120
|
49
|
84
|
|
G1 1/2
|
40
|
BCH-H1 1/2□
|
130
|
57
|
71
|
|
G2
|
50
|
BCH-H2□
|
168
|
70
|
83
|
|
G2 1/2
|
70
|
BCH-H2 1/2□
|
246
|
86
|
104
|
|
G3
|
80
|
BCH-H3□
|
282
|
102
|
120
|
|
G4
|
100
|
BCH-H4□
|
300
|
102
|
135
|
|
訂貨須知
> 按照產品型號逐條選擇并注明防爆標志及結構形式、螺紋規格等參數,例如:需要增安型鑄鋼 G1″A 型穿線盒,則產品型號為 BCH-AG1″T ExeⅡC Gb/Ex tD A21。
> 常規供貨為鋁合金材質,要求鑄鋼材質時請注明。